Приборы для определения температуры вспышки по ГОСТ

Определение температуры вспышки растительных масел: методы, приборы по ГОСТ 9287-59

opredelenie_temperatur_vspyshki

Зачем это нужно?

Температура вспышки — ключевой показатель пожарной опасности и чистоты растительных масел. Она характеризует наличие легколетучих фракций, примесей (например, остатков растворителей после экстракции) или продуктов термического разложения. Высокая температура вспышки свидетельствует о хорошей очистке и стабильности масла. Для производителей это критически важный параметр контроля качества и безопасности.

Основной документ, регламентирующий методику в странах СНГ для растительных масел, — ГОСТ 9287-59 «Масла растительные. Метод определения температуры вспышки в закрытом тигле». Стандарт описывает классический метод с использованием приборов с внешним нагревом.

Суть метода по ГОСТ 9287-59

Метод основан на контролируемом нагреве пробы масла в специальном закрытом тигле с периодическим поднесением источника пламени к паровоздушной смеси над поверхностью жидкости. В момент, когда концентрация паров становится достаточной для воспламенения от испытательного пламени, фиксируется температура — это и есть температура вспышки в закрытом тигле.

Ключевые условия методики:

  • Скорость нагрева: 2 °C в минуту (после достижения температуры на 30 °C ниже предполагаемой вспышки).
  • Перемешивание: непрерывное, со скоростью 60 об/мин (1 с⁻¹). Прекращается только на момент поднесения пламени.
  • Периодичность испытания: каждые 2 °C (то есть каждую минуту).
  • Критерий: появление первого синего пламени над поверхностью масла.

Оборудование и приборы по ГОСТ 9287-59

Стандарт прямо указывает на два типа традиционных лабораторных приборов:

temperatura_vspyshki
  1. Прибор типа ПВНЭ (Прибор для определения Вспышки с Нагреванием Электрическим)

    Принцип действия: Электрический нагрев. Более современный и удобный для лаборатории вариант, так как обеспечивает лучшую стабильность и регулировку температуры.

    Конструкция: Включает ванну для нагревательной жидкости (масляную или песчаную), в которую помещается тигель с пробой, электроплитку, механизм перемешивания с пружинной мешалкой, термометр и устройство для поднесения испытательного пламени (фитильную лампочку или механизм со спичкой).

    Преимущества: Безопасность, отсутствие открытого огня для нагрева, стабильность скорости нагрева.

     

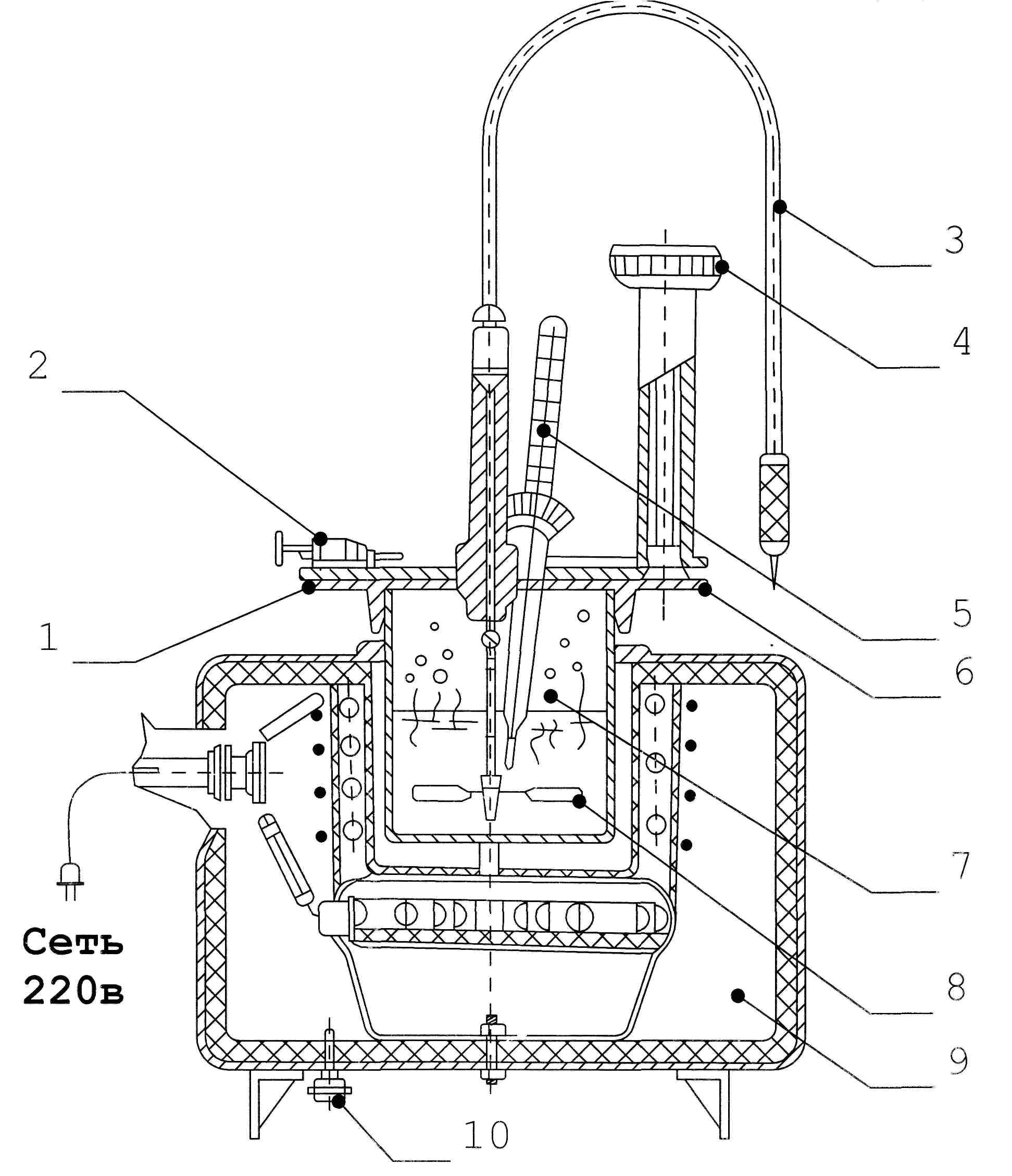
Устройство прибора для определения температуры вспышки типа ПНВЭ:

1 – тигель;
2 – зажигательное приспособление;
3 – гибкий вал;
4 – рычажный привод;
5 – термометр;
6 – крышка тигеля;
7 – испытуемая жидкость (ЛВЖ);
8 – мешалки;
9 – электрическая печь;
10 — заземление

  1. Прибор типа ПВНО (Прибор для определения Вспышки с Нагреванием Огневым)

    Принцип действия: Нагрев с помощью газовой, бензиновой или спиртовой горелки.

    Конструкция: Аналогична ПВНЭ, но нагрев осуществляется внешней горелкой, что требует большего внимания оператора для поддержания заданной скорости нагрева.

Сопутствующее оборудование по стандарту:

  • Секундомер.
  • Экранирующие щиты из стали (450х600 мм) для защиты от движения воздуха и света.
  • Фитильная лампочка, заправленная рафинированным растительным маслом, или газовая горелка для создания испытательного пламени (диаметр пламени 3-4 мм).

Важное примечание: ГОСТ допускает применение других средств измерения, чьи характеристики не хуже указанных. Это открывает дорогу для использования современных автоматических аппаратов.

t_vspiyshki

Современные аналоги: автоматические и полуавтоматические приборы

Сегодня лаборатории все чаще используют автоматизированные анализаторы, которые полностью воспроизводят метод Пенски-Мартенса (лежащий в основе ГОСТ 9287-59 и его международных аналогов: ISO 2719, ASTM D93).

Основные преимущества:

  • Полная автоматизация: прибор сам нагревает, перемешивает, подносит искру, фиксирует вспышку и определяет температуру.
  • Высокая точность и воспроизводимость: исключен человеческий фактор.
  • Безопасность: все процессы происходят в закрытой системе.
  • Экономия времени и ресурсов.

Примеры современных приборов, соответствующих требованиям ГОСТ:

Полуавтоматические анализаторы

Эти приборы автоматизируют процесс нагрева и перемешивания, но ключевой этап — обнаружение вспышки — проводится оператором визуально. Это требует его постоянного присутствия, но делает оборудование более доступным и подходящим для учебных или небольших лабораторий.

  1. Анализатор ПЭ-ТВЗ

     

    Принцип действия: после запуска программы прибор автоматически нагревает тигель с образцом с заданной скоростью и через стандартизированные интервалы подносит пламя горелки. Оператор визуально наблюдает за образцом и в момент вспышки нажимает кнопку «СТОП», после чего на дисплее фиксируется температура.


    Соответствие стандартам:
    Работает по ГОСТ 6356-75, ГОСТ 6356-91, ГОСТ Р ЕН ИСО 2719-2008, ASTM D93.


    Ключевые особенности:

  • Ручное управление основными функциями, простой интерфейс.
  • Использует масляный фитиль для создания тестового пламени.
  • Требует ежедневной промывки контактирующих с образцом частей (тигель, крышка) для поддержания точности.


    Технические параметры:
    Диапазон измерения: 25–370 °C. Потребляемая мощность: до 400 ВА.

  1. Аппарат ТВЗ-ЛАБ-01

     

    Принцип действия: Более продвинутая полуавтоматическая модель. Управляется микропроцессором, который полностью контролирует нагрев, перемешивание и движение горелки. Перед каждым поджигом прибор подает звуковой сигнал, привлекая внимание оператора. Вспышка также фиксируется визуально с нажатием кнопки.


    Соответствие стандартам:
    Поддерживает ГОСТ Р ЕН ИСО 2719-2008, ГОСТ ISO 2719-2017, ГОСТ 6356-75, ASTM D93 (методы A и B).


    Ключевые особенности:

  • Программируемость. Имеет 3 предустановленные программы и встроенный редактор для создания до 20 пользовательских методов.
  • Гибкие настройки. Позволяет задавать две разные скорости нагрева в ходе одного эксперимента.
  • Удобство. Оснащен магнитной мешалкой и адаптирован для работы с портативными газовыми баллончиками.


    Технические параметры:
     Широкий диапазон измерения: от 0 до +400 °C (ниже комнатной — с предварительным охлаждением). Точный датчик температуры Pt-100.

Полностью автоматические анализаторы

Эти приборы проводят весь анализ без вмешательства оператора: от обнаружения вспышки до сохранения и обработки данных. Это исключает человеческий фактор, повышает воспроизводимость результатов и позволяет проводить серийные испытания.

  1. Автоматический аппарат ТВЗ-ЛАБ-12


    Принцип действия:
    Оператор заливает пробу и запускает программу. Прибор автоматически выполняет весь цикл, включая автоматическое обнаружение вспышки с помощью специального датчика (термопара), фиксацию результата, охлаждение и сохранение данных в памяти.


    Соответствие стандартам:
    Поддерживает самый широкий спектр, включая ГОСТ Р ЕН ИСО 2719-2008, ГОСТ 6356-75, ASTM D93 (методы A, B и C).


    Ключевые особенности:

  • Высокая степень автоматизации. Исключает влияние оператора на результат.
  • Двойная система поджига. Можно использовать как традиционный газовый, так и современный электрический (в соответствии с ГОСТ Р ЕН ИСО 2719-2008).
  • Расширенные возможности связи. Имеет USB-порты, Ethernet для подключения к ПК и локальной сети, возможность дистанционного обновления ПО и печати результатов.
  • Встроенный датчик давления для автоматического внесения поправок в результаты.
  • Мощный встроенный редактор программ с настройкой всех ключевых параметров испытания.


    Технические параметры:
    Диапазон: 0…400 °C.
    Управление: сенсорный цветной ЖК-дисплей.

  1. Автоматический аппарат ТВЗ-А-ПХП


    Принцип действия:
    Также выполняет полный цикл испытаний автоматически. Особенность — использование в качестве основного встроенного электроискрового поджига, который точно имитирует пламя по ГОСТ 6356. Вспышка фиксируется датчиком (ионизационное кольцо или термопара).


    Соответствие стандартам: 
    ГОСТ 6356, ISO 2719, ASTM D93.


    Ключевые особенности:

  • Электрический поджиг. Не требует подключения газа, что повышает безопасность и удобство в лабораториях, где нет газовой магистрали.
  • Интеллектуальный нагрев. Автоматически снижает скорость нагрева при приближении к предполагаемой температуре вспышки для повышения точности.
  • Учет атмосферного давления. Возможность ввода данных о давлении для коррекции результата.


    Технические параметры:
    Диапазон: 0…+400 °C. Дискретность результата: 0.1 °C. Имеется опция газового поджига.

Сравнение и рекомендации по выбору

sravnenie_priborov_t_vspyshki

Выбор между полуавтоматическим и полностью автоматическим анализатором — это компромисс между бюджетом и потребностями лаборатории в точности, производительности и документообороте. Для рутинного контроля с высокими требованиями к точности и воспроизводимости результатов однозначно предпочтительны автоматические модели. Полуавтоматические приборы остаются надежным и экономичным решением для задач, где не требуется высокая пропускная способность.

Если вы рассматриваете конкретную модель и хотите узнать больше о ее совместимости с вашими задачами, уточните, для каких именно продуктов (моторные масла, дизельное топливо, растительные масла) и в каком объеме планируется проводить испытания.

Порядок проведения испытания

  • Подготовка пробы. Масло перемешивают. При анализе соевого масла с высоким содержанием фосфатидов может потребоваться предварительное центрифугирование.
  • Подготовка прибора. Чистый сухой тигель заполняют пробой до метки, закрывают крышкой, устанавливают термометр и помещают в нагревательную ванну. Зажигают и регулируют испытательное пламя.
  • Нагрев. Нагрев ведут, непрерывно перемешивая. До ~170°C можно нагревать быстро, далее скорость снижают, а за 30°C до ожидаемой вспышки выходят на стандартную скорость 2°C/мин.
  • Испытание на вспышку. За 10°C до ожидаемой температуры начинают каждую минуту (каждые 2°C) открывать заслонку и подносить пламя на 2-3 секунды.
  • Фиксация результата. Температуру, при которой над поверхностью масла появляется первое синее пламя, считают температурой вспышки. Проводят как минимум два параллельных определения. Расхождение между ними не должно превышать 3°C.

Определение температуры вспышки — обязательный этап в оценке качества растительных масел. Несмотря на то, что ГОСТ 9287-59 предписывает использование классических приборов ПВНЭ или ПВНО, современные лаборатории имеют возможность применять высокоточные автоматические анализаторы типа ТВЗ, которые соответствуют духу стандарта (методу Пенски-Мартенса) и значительно повышают эффективность работы.

Выбор между классическим и автоматизированным прибором зависит от объема работ, требований лаборатории и необходимости соблюдения как национальных (ГОСТ), так и международных (ISO, ASTM) стандартов.

temperatura_vspyshki

Отправить запрос

Пожалуйста, заполните форму. Ответим в течение 30 минут

Уважаемые клиенты!
От всей души поздравляем Вас с праздником народного единства!
Пусть в ваших семьях всегда царит мир, добро и достаток!

В праздничные дни наш график работы изменен
1.01.2025 — работаем до 15.00
2.11.2025-4.11.2025 — выходные

с 5.11.2025 работаем в обычном режиме.

 

Ни одно ваше письмо не останется без ответа!
С уважением, ваша КОЛБА

Мы используем необходимые файлы cookie, для работы 
нашего сайта.

Продолжая использовать сайт, вы соглашаетесь 
с использованием файлов cookie на нашем сайте в соответствии с нашей политикой конфиденциальности.